top of page

SPRAYER
INSTRUCTIONAL VIDEOS

Everything from set-up, to clean-up and storage, as well as how to spray, and troubleshooting.

Magnum Airless Paint Sprayer Operational Video Part 1 (of 2)

Graco Magnum Airless Paint Sprayer Operational Video Part 1 Chapter 1: Basic Components Chapter 2: Setting Up Your New Sprayer

Magnum Airless Paint Sprayer Operational Video Part 1 (of 2)

Magnum Airless Paint Sprayer Operational Video Part 2 of 2

Graco Magnum Airless Paint Sprayer Operational Video Part 2 Chapter 3: Shutdown & Cleaning Chapter 4: Basic Troubleshooting

Magnum Airless Paint Sprayer Operational Video Part 2 of 2

Magnum Operation - Cleanup & Storage

This segment of the Magnum Operation series demonstrates proper cleanup and storage of your sprayer.

Magnum Operation - Cleanup & Storage

Magnum - Quick Cleanup

Quick Cleanup Video For Waterbased Paint

Magnum - Quick Cleanup

Magnum LTS Airless Sprayer - Clean-Up & Storage

Airless paint sprayer instructions for cleaning and storage.

Magnum LTS Airless Sprayer - Clean-Up & Storage

How to properly store your Magnum sprayer

This video explains how to properly store your Graco Magnum sprayer.

How to properly store your Magnum sprayer

Magnum Operation - How to Spray

This segment of the Magnum Operation series will teach you how to spray paint or stain.

Magnum Operation - How to Spray

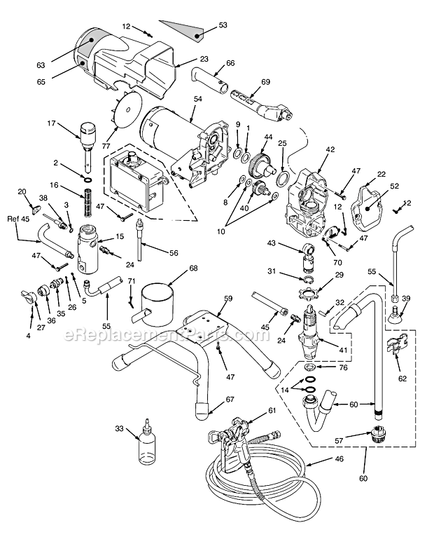
Magnum LTS Airless Sprayer - Components

Airless paint sprayer instructional guide showing components and controls.

Magnum LTS Airless Sprayer - Components

Magnum LTS Airless Sprayer - How To Spray

Airless paint sprayer operational user guide with instruction on how to spray.

Magnum LTS Airless Sprayer - How To Spray

Magnum LTS Airless Sprayer - Troubleshooting

Airless paint sprayer instructional user guide on troubleshooting common problems.

Magnum LTS Airless Sprayer - Troubleshooting

Magnum ProXChange Pump Replacement

Learn how to change your sprayers pump without having to send it out and without having to pay repair fees.

Magnum ProXChange Pump Replacement

Brush vs Roll vs Spray

Spraying paint or stain on a deck is ten times faster than brushing and four times faster than rolling. Graco show's you how it's done.

Brush vs Roll vs Spray
bottom of page